Sony a déposé un brevet pour des lunettes VR
Pour tous les possesseurs de casque VR, et pour ces mêmes possesseurs qui portent également des lunettes de correction oculaire, il est parfois difficile de profiter pleinement de la réalité virtuelle, car les casques sont mal adaptés et souvent cela rend l’expérience désagréable, voire même impossible.
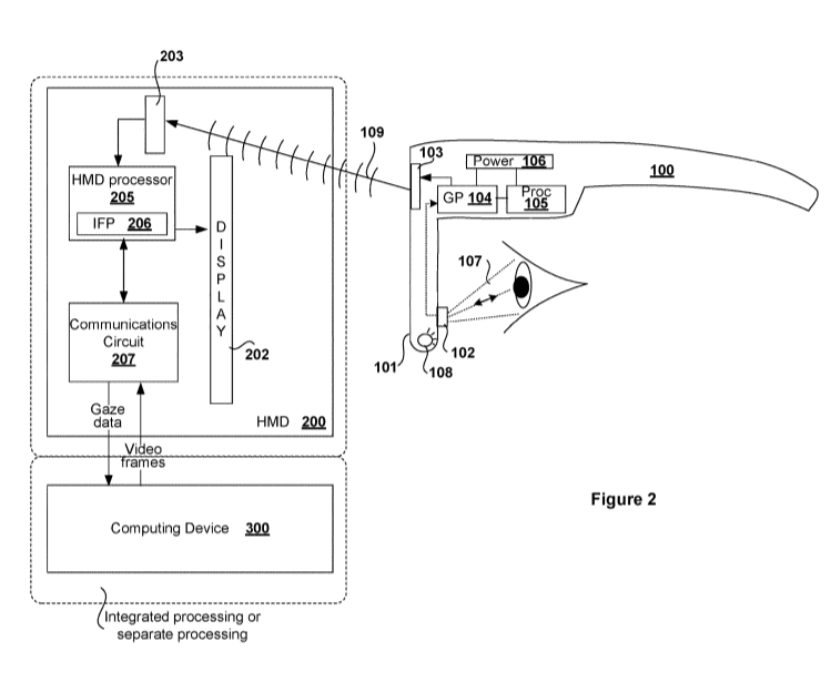
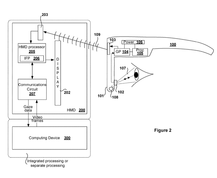
On apprend aujourd’hui que Sony a déposé un brevet en décembre 2017 sur la réalité virtuelle. Un brevet qui fut rendu public il y’a quelques jours seulement. On peut y voir que Sony travaillait (ou travaille encore) sur des lunettes spéciales permettant de jouer en VR. Alors, est-ce qu’il s’agit de lunettes « standard » à positionner sous le casque et qui s’adaptent sur les lunettes correctrices des joueurs, ou est-ce des lunettes spéciales permettant de jouer en VR ou en AR sans le casque ?
Quoi qu’il en soit, on peut voir que les lunettes disposent de capteurs capables d’identifier les mouvements des yeux. Ainsi, cela évite de bouger la tête trop souvent, pour adapter le rendu visuel à la position des globes oculaires.
Source : USPTO
Bonne fin de journée à tous sur Naughty Dog Mag’ 🙂

